3D打印飛機 航空巨頭空客欲用新專利造出整架飛機
3d打印機價格表,3d打印設備價格,3d打印機,3d打印技術,3d打印材料,3d打印模型,3d打印飛機
專利是現代企業的一項重要知識產權,誰擁有了專利數多,誰擁有的專利質量高則意味著誰在企業發展中取得先機。近日,法國航空制造巨頭空客公司申請了一項關于新型3D打印技術的專利,該技術有可能會徹底改變規模制造,甚至可能導致3D打印出整架飛機的能力。該工藝運用了大量材料方面的知識,并充分利用了3D打印對象對其冷卻過程中出現內部應力做出的反應。

根據空客公司的專利申請材料,該技術主要使用一種類似于選擇性激光燒結(SLS)的技術,把鈦、鋁等金屬粉末材料融合在一起,首先會形成一個殼狀的結構,將金屬粉末沉積在上面,然后用激光對殼狀結構和金屬粉末進行加熱,使其共同融化、粘合成部件。

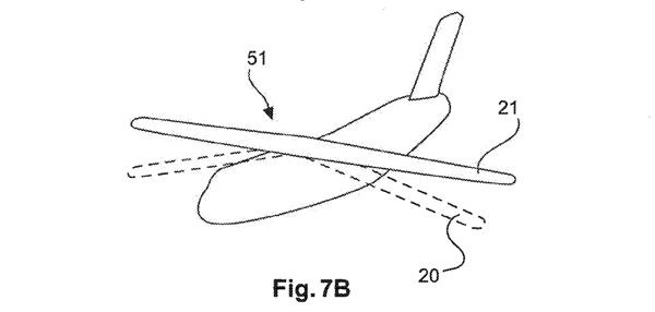
上圖最左邊的圖顯示的是飛機落地時的狀態,其他兩張顯示的是飛機在飛行時的狀態。機艙的重量很大程度上決定了飛機是否能達到優化的形狀。
當部件冷卻時,其新形成的多材料金屬層的內部應力將導致整個部件朝著預定方向或者曲線彎曲,這主要是由于殼結構和金屬在冷卻時以不同的速率收縮導致的。一旦這個部件完全固化,部件將擁有特定的結構完整性,比使用傳統制造方法強度更高。

使用這種技術制造出來的飛機,能夠承受住飛機在運行當中的劇烈條件而不喪失任何氣動特征。并且,3D打印得部件將更輕,使用的材料更少,結構也更加穩定。引入部件內部的應力實際上可以帶來更多的穩定性,使其強度更高,讓飛機承受更多的重量。

根據部件的幾何形狀設計的差異,在飛機登陸地面時,機翼會變直,在起飛的過程中會變形。整個過程似乎有悖科學常理,但實際上有有著堅實的科學道理,比如,幾個世紀以來,很多家具制造商都會使用這一原理來增強他們的設計。當應力點以這樣的一種方式被施加到家具的另一個部件上時,家具的這個部分將提供更多的強度和穩定性。
這項技術聽起來有點像4D打印的概念,都是利用部件內部不同材料形狀的變化導致整個部件的幾何形狀產生改變。該技術目前處于申請階段,空客并未仔細描述其技術細節,也不知道是否能夠實現。但可以感覺到的是,這將是一項非常有意思的技術。
如果空客的新專利最終投入生產,那么將可以大大降低飛機的制造成本,減少飛機的生產時間,從而讓飛機更廉價,到時也許不是超級富豪才買得起私人飛機了。
本文部分內容來源于中關村在線
我們的官方微信:CKLM88
e鍵打印(m.njgyglc.cn)專注企業級3D打印服務(個人也可打印),是一個3D打印平臺,無論你我還是他,都能在上面進行3D打印的3D打印服務平臺。也可以動動手指,掃描關注我們e鍵打印微信公眾號。
